ஹெலிகாப்டர் போன்று எழும்பும் புதிய பயணிகள் விமானம்... போயிங் நிறுவனம் தீவிரம்!
ஹெலிகாப்டர் போன்று மேலே எழும்பும் திறன் படைத்த புதிய பயணிகள் விமானத்திற்கான தொழில்நுட்பத்திற்கு அமெரிக்காவை சேர்ந்த போயிங் விமான நிறுவனம் காப்புரிமை பெற்றிருக்கிறது. அதன் தொழில்நுட்ப விபரங்களை இந்
ஹெலிகாப்டர் போன்று செங்குத்தாக மேலே எழும்பும் திறன் படைத்த புதிய பயணிகள் விமானத்தை தயாரிக்க போயிங் நிறுவனம் தீவிர முயற்சிகளை மேற்கொண்டிருக்கிறது. இதற்கான வடிவமைப்பு மற்றும் தொழில்நுட்பத்திற்கு போயிங் நிறுவனம் காப்புரிமை பெற்றிருக்கிறது.
விமான போக்குவரத்தில் இந்த புதிய விமானம் புதிய புரட்சியை படைக்கும் என்ற எதிர்பார்ப்பும், ஆவலும் உலக அளவில் எழுந்துள்ளது. போயிங் நிறுவனத்தின் இந்த புதிய பயணிகள் விமானம் குறித்த கூடுதல் தகவல்களை தொடர்ந்து காணலாம்.

செங்குத்தாக மேலே எழும்புவதற்கும், தரை இறங்குவதற்கு திறன் படைத்த VTOL ரக விமானங்களை தயாரிக்கும் முயற்சிகளை பல காலமாக போயிங் செய்து வருகிறது. VTOL ரகத்தில் ஏற்கனழே வி-22 உள்ளிட்ட ராணுவ பயன்பாட்டு விமானங்களை தயாரித்த அனுபவத்தை பெற்றிருக்கிறது. ஆனால், அவை அதிகபட்சமாகவே 6 முதல் 9 பயணிகள் மட்டுமே செல்ல முடியும்.

ராணுவ பயன்பாட்டு விமானத்தை வடிவமைப்பதைவிட, பயணிகள் விமானத்தை வடிவமைப்பதிலும், பாதுகாப்பு அம்சங்களிலும் பல நடைமுறை சிக்கல்களும், விதிகளும் உள்ளன.

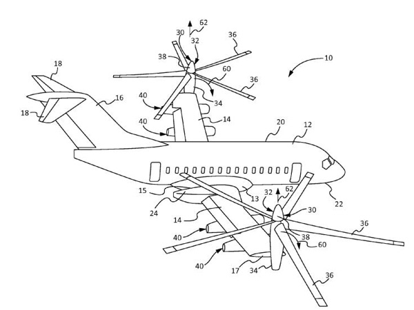
வி-22 போன்ற செங்குத்தாக மேலே எழும்பும் திறன் படைத்த விமானங்கள் டில்ட் ரோட்டர் கொண்டவை. அதாவது, விமானத்தின் இறக்கை முனைகளில் அல்லது உடற்கூடு பகுதியில் பொருத்தப்பட்டிருக்கும் விசிறி விமானத்தை மேலே தூக்குவதற்கும், மேலே எழும்பியுடன் பறப்பதற்கும் துணை புரிகின்றன.

இந்த டில்ட் ரோட்டர் எனப்படும் விசிறிகளானது விமானம் மேலே எழும்பும்போது செங்குத்து திசையில் ரோட்டர் திரும்பும். அப்போது விசிறிகள் மூலமாக கிடைக்கும் உந்து சக்தி மூலமாக விமானம் மேலே எழும்பும்.

அதன்பிறகு, விமானம் ஓரளவு மேலே எழும்பி குறிப்பிட்ட வேகத்தில் பறக்கத் துவங்கியவுடன், சாதாரண விமானத்தில் உள்ளது போன்று விசிறிகள் முன்னோக்கி திரும்பி, விமானத்திற்கு தேவையான முன்னோக்கி செல்வதற்கான விசையை வழங்கும்.

ஆனால், இந்த டில்ட் ரோட்டர் பொருத்தப்பட்ட விமானங்களில் இறக்கை அமைப்பு உடற்கூடு பகுதியின் மேல்புறத்தில் பொருத்தப்பட்டிருக்கும். இதுபோன்ற இறக்கை அமைப்புடைய வர்த்தக பயணிகள் விமானத்தின் கட்டுமான செலவு மிக அதிகமாக இருக்கும்.

சாதாரண விமானங்களை போன்று இறக்கைகளில் எரிபொருள் டேங்க்கை பொருத்த முடியாது. விமானத்தின் மேல் புறத்தில் இறக்கைகளில் பொருத்தப்பட்டிருப்பதால், அதிலிருந்து பயணிகள் அமரும் பகுதிகளுக்குள் எரிபொருள் கசிய வாய்ப்பு உள்ளது.

அடுத்து அவசர காலத்தில் தரையிறக்கும்போது உடல்கூடு தரையில் மோதி விபத்துக்குள்ளாகும் வாய்ப்பும் உள்ளது. இந்த விமானங்களை தண்ணீரில் தரையிறக்கினாலும் மிதக்காமல் மூழ்கும் ஆபத்தும் உள்ளது.

தற்போது அனைத்து விமான நிலையங்களின் ஓடுபாதைகள், விமானத்திலிருந்து பயணிகள் மற்றும் சரக்குகளை இறக்குவதற்கான வழிகள் அனைத்தும் கீழ்ப்பகுதியில் இறக்கை பொருத்தப்பட்ட விமானங்களுக்கு ஏற்ற வகையிலேயே இருக்கின்றன.

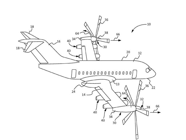
இதனால், டில்ட் ரோட்டர் கொண்ட பயணிகள் விமானத்தை தயாரிப்பதில் பல்வேறு சிக்கல்கள் உள்ளன. ஆனால், இந்த நடைமுறை தொழில்நுட்ப பிரச்னைகள் அனைத்தையும் களைந்து ஹெலிகாப்டர் போன்று செங்குத்தாக மேலே எழும்பும் விமானத்தை வடிவமைப்பு மற்றும் தொழில்நுட்பங்களுக்கு காப்புரிமை பெற்றிருக்கிறது போயிங்.

போயிங் காப்புரிமை பெற்றிருக்கும் இந்த புதிய விமானத்தில் இறக்கைகள் சாதாரண விமானங்களை போலவே கீழ்பகுதியில் இணைக்கப்பட்டிருக்கிறது. இதனால், இறக்கைகளில் எரிபொருள் டேங்க் பொருத்த முடியும்.

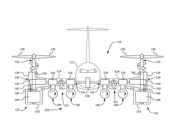
கட்டமைப்பு பிரச்னையும் இருக்காது. மேலும், ரோட்டர் எனப்படும் விமானத்தை தூக்கும் விசையை தரும் விசிறிகளை இறக்கைகளின் முனைகளில் பொருத்தாமல் நடுப்பகுதியில் பொருத்தப்பட்டிருக்கிறது. இந்த விசிறிகளை இயக்குவதற்கு பல சிறிய எஞ்சின்களை பொருத்தி அதிக சக்தியை பெற முடியும்.

சாதாரண டில்ட் ரோட்டர் விமானங்களில் ஒரு எஞ்சின் அல்லது இரண்டு எஞ்சின் மூலமாக விசிறிகளுக்கு ஆற்றல் வழங்கப்படும். ஆனால், இதுபோன்று இரண்டுக்கும் மேற்பட்ட அடக்கமான எஞ்சின்களை பொருத்துவதன் மூலமாக, ஒன்று அல்லது இரண்டு எஞ்சின்கள் பழுதானாலும், இதர எஞ்சின்களை வைத்து விமானத்தை தரை இறக்க முடியும்.

இந்த விமானத்தில் அதிகபட்சமாக 100 பயணிகள் செல்ல முடியும். இதன்மூலமாக, குறைந்த தூர ஓடுபாதைகள் மற்றும் பெரிய அளவிலான கட்டமைப்பு வசதிகள் இல்லாத விமான நிலையங்களுக்கு இந்த விமானத்தை இயக்க முடியும்.

தற்போது இரண்டாம் நிலை நகரங்கள் வரை எட்டியிருக்கும் விமான சேவையை, மூன்றாம் நிலை நகரங்களுக்கும் விரிவுப்படுத்துவதற்கு இந்த புதிய பயணிகள் விமானம் ஏதுவாக இருக்கும். தற்போது காப்புரிமை பெறப்பட்டிருக்கும் நிலையில், இந்த விமான தயாரிப்பு குறித்த எதிர்கால முடிவை விரைவில் எதிர்பார்க்கலாம்.

- நடுவானில் எஞ்சின்கள் செயலிழந்தாலும் விமானம் தொடர்ந்து பறக்கும்... எப்படி தெரியுமா?
- உலகின் மிக நீண்ட தூர இடைநில்லா விமானத்தை இயக்கி சாதனை படைத்த ஏர் இந்தியா!
- உலகின் மிகப்பெரிய ஏர்பஸ் ஏ380 பயணிகள் விமானம் பற்றிய சுவாரஸ்யங்கள்!


Click it and Unblock the Notifications








