சுசுகி இண்ட்ரூடர் 250 பைக்கின் எக்ஸாஸ்ட் சிஸ்டம் இப்படி தான் இருக்கும்... வெளியான காப்புரிமை படங்கள்
சுசுகி இண்ட்ரூடர் 250 பைக்கின் எக்ஸாஸ்ட் சிஸ்டம் காப்புரிமை படங்கள் மூலமாக வெளிவந்துள்ளது. இதுகுறித்த கூடுதல் தகவல்களை இந்த செய்தியில் பார்ப்போம்.

சுசுகி மோட்டார்சைக்கிள் நிறுவனம் 250சிசி என்ஜினுடன் ஜிக்ஸெர் மாடல்களை அறிமுகப்படுத்தியதை தொடர்ந்து இண்ட்ரூடர் 250 பைக்கை பற்றிய ஆர்வம் வாடிக்கையாளர்கள் இடையே உருவாக ஆரம்பித்துவிட்டது.

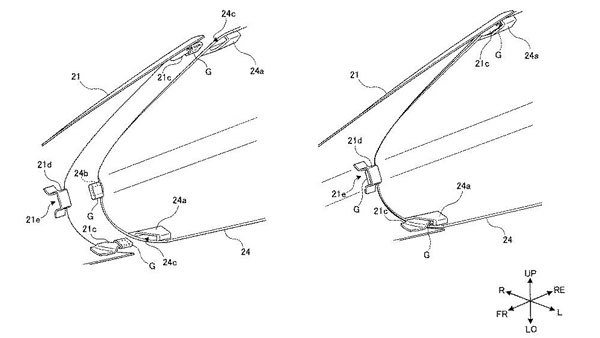
இந்த நிலையில் தான் இந்த 250சிசி பைக்கின் எக்ஸாஸ்ட் சிஸ்டத்தின் தோற்றம் காப்புரிமை படங்கள் கோஜின்டெகிபிகேமடோம்என்ற செய்தி தளம்மூலமாக வெளிவந்துள்ளது. இந்த படங்களின் மூலமாக பார்க்கும்போது கேட்டலிடிக் கன்வெர்டர் உடன் சிங்கிள்-தலை பாக குழாயை கொண்ட எக்ஸாஸ்ட் சிஸ்டத்தை இண்ட்ரூடர் 250 பைக் கொண்டுள்ளதை அறிய முடிகிறது.

ஒற்றை தலை பாகத்துடன் எக்ஸாஸ்ட் இருந்தாலும், அது முடிகிற இடத்தில் ட்யூல்-பேரல் செட்அப் இந்த வருடத்தின் துவக்கத்தில் அறிமுகமான சுசுகி இண்ட்ரூடர் பிஎஸ்6 பைக்கில் உள்ளதை போன்று வடிவமைக்கப்பட்டுள்ளது. இருப்பினும் மஃப்லரின் டிசைன் சற்று வித்தியாசமாக உள்ளது.

சுமார் 1.5 வருடங்களுக்கு முன்பே, அதாவது 2018லேயே சுசுகி நிறுவனம் காப்புரிமை வாங்கியிருந்த இண்ட்ரூடர் 250 பைக்கில் பிஎஸ்6 தரத்திற்கு இணக்கமான 249சிசி, சிங்கிள்-சிலிண்டர் என்ஜின் இயக்க ஆற்றலை வழங்குவதற்காக பொருத்தப்படவுள்ளது. இந்த என்ஜினை ஜிக்ஸெர் 250 மற்றும் ஜிக்ஸெர் எஸ்எஃப் 250 மாடல்களிலும் பார்க்க முடியும்.

ஆயில்-கூல்டு மற்றும் ஃப்யூல்-இன்ஜெக்டட் சிஸ்டங்கள் உடன் இந்த பிஎஸ்6 என்ஜின் அதிகப்பட்சமாக 9,300 ஆர்பிஎம்-ல் 26.5 பிஎச்பி பவரையும், 7,300 ஆர்பிஎம்-ல் 22.2 என்எம் டார்க் திறனையும் வெளிப்படுத்துகிறது. இந்த என்ஜின் உடன் ட்ரான்ஸ்மிஷனிற்கு 6-ஸ்பீடு கியர்பாக்ஸ் இணைக்கப்படவுள்ளது.

இந்த என்ஜின் புதிய இண்ட்ரூடர் 250 மாடலிலும் இதே ஆற்றலை அளவை வழங்கினாலும், சுசுகி நிறுவனம் இந்த க்ரூஸர் பைக் மாடலுக்கு ஏற்ற விதத்தில் என்ஜின் ஆற்றலை வழங்கும் பாதையை மாற்றியமைக்கும் என எதிர்பார்க்கப்படுகிறது. ஸ்டைலிங் பாகங்களை பொறுத்தவரையில் இந்த 250சிசி பைக் பெரும்பான்மையான அம்சங்களை தனது சிறிய செயல்திறன் கொண்ட பைக் மாடலான இண்ட்ரூடர் 155ல் இருந்து தான் பெறவுள்ளது.

இண்ட்ரூடர் 155 பைக்கானது எல்இடி தரத்தில் டெயில்லேம்ப் மற்றும் டிஆர்எலை சவுகரியமான ரைடிங் பொஷிசன் உடன் கொண்டுள்ளது. மற்றப்படி இண்ட்ரூடர் 250 பைக்கின் இந்திய அறிமுகம் குறித்த எந்த நம்பத்தகுந்த தகவலும் தற்போதைக்கு இல்லை.


Click it and Unblock the Notifications








