4 வீல்களும் 360 டிகிரி சுழலும்... பிரம்மிப்பூட்டும் தொழில்நுட்பத்தை உருவாக்கும் பணியில் டொயோட்டா!
டிராலிகளைப் போல் நான்கு வீலும் திரும்பும் திறன் கொண்ட வாகனங்களை தயாரிக்கும் முயற்சியில் டொயோட்டா நிறுவனம் ஈடுபட்டு வருகின்றது. இதுகுறித்த கூடுதல் தகவலை தொடர்ச்சியாக காணலாம்.

கொரோனா வைரசால் ஏற்பட்டிருக்கும் இக்கட்டான சூழ்நிலையைச் சமாளிக்க உலகின் முன்னணி வாகன உற்பத்தி நிறுவனங்கள் பல ஆட் குறைப்பு போன்ற கசப்பான நடவடிக்கையில் ஈடுபட்டு வருகின்றன. அண்மைக் காலங்களாக ஏற்பட்டு வரும் நிதியிழப்பை சமாளிக்கும் நோக்கில் இதனை அவை மேற்கொண்டு வருகின்றன.

இம்மாதிரியான சூழ்நிலையில் உலகின் முன்னணி கார் உற்பத்தி நிறுவனங்களில் ஒன்றான டொயோட்டா நிறுவனம் மட்டும் சற்று வித்தியாசமான முயற்சியில் ஈடுபடத் தொடங்கியுள்ளது. அது, எதிர்கால தொழில்நுட்பங்கள் மற்றும் மின்மயமாக்கள் தொடர்பாக பல்வேறு ஆராய்ச்சிகளை மேற்கொண்டு வருவதாக தகவல் வெளியாகியுள்ளது.

மேலும், இதற்கான முதலீடுகளை மிக தாராளமாக அது செய்து வருவதாகவும் தகவல்கள் தெரிவிக்கின்றன. இதனடிப்படையில், எந்த மாதிரியான குறுகலான பகுதியிலும் காரை மிக சுலபமாக பார்க் செய்வதற்கான தொழில்நுட்பத்தை அது வடிவமைத்து வருவதாக தகவல் வெளியாகியுள்ளது.

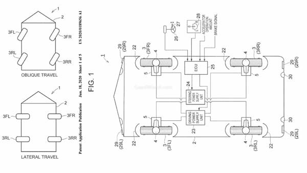
இதற்கான பேட்டன்ட் இமேஜ் எனப்படும் மாதிரி வரைபடத்தை அது உருவாக்கியிருப்பது தெரியவந்துள்ளது. அந்த புகைப்படம்தான் வாகன உலகத்தின் ஹாட் டாபிக்காக தற்போது மாறியிருக்கின்றது.
பொதுவாக நகரம் போன்ற மிக இடுக்கான பகுதிகளில் வசிக்கும் வாகன உரிமையாளர்கள் சந்திக்கும் மிகப் பெரிய சிக்கலே வாகனத்தை பார்க் செய்வதுதான்.

கிராமத்தில் வாய்க்கால் தகராறு காணப்படுவதைப் போல் நகரத்தில் வசிப்போர்கள் மத்தியில் பார்க்கிங் தகராறு காணப்படுகின்றது.
"என்னுடைய வழக்கமான பார்க்கிங் லாட்டை அவர் எடுத்துக் கொண்டார். என்னுடைய காரை திரும்பி எடுக்க முடியாதவாறு அவரோட காரை நிறுத்தி வச்சிருக்காரு" இப்படி பார்க்கிங் விஷயத்தில் ஏராளமான குடுமிபிடி சண்டைகள் அரங்கேறிக் கொண்டிருக்கின்றன.

இதுபோன்றவற்றைக் கருத்தில் கொண்டே டொயோட்டா நிறுவனம் புதிய பார்க்கிங் வசதியை காரில் கொண்டு வருவதற்கான ஆராய்ச்சியைச் செய்து வருன்றது.
இந்த தொழில்நுட்பமானது, காரின் வீல்களை முற்றிலும் பக்கவாட்டாக திருப்பி, வலது மற்றும் இடது என இரு புறத்திலும் செல்வதற்கான இயக்கத்தைக் கொடுக்கும்.

அதாவது, ஓர் கார் எப்படி முன் (Front) மற்றும் பின் (Rivers) பக்கங்களில் இயங்குகின்றதோ, அதேபோன்று, இந்த புதிய தொழில்நுட்பம், அதனை வலது (Right) மற்றும் இடது (Left) ஆகிய இரு பக்கங்களிலும் செல்வதற்கு உதவும். எனவே, காரை நிறுத்துமளவிற்கு இடம் இருந்தாலே போதும். ரிவர்ஸ் செய்யாமலே காரை மிக சுலபமாக பார்க் செய்துவிடலாம்.

தற்போது பயன்பாட்டில் இருக்கும் 99.99 சதவீத கார்களில் முன் பக்க வீலை மட்டுமே திருப்பும் வசதிக் காணப்படுகின்றது. ஆனால், டொயோட்டாவின் இந்த ஆராய்ச்சி நான்கு வீல்களையும் ஒட்டுமொத்தமாக நேர் கோட்டில் திருப்ப உதவும். அதாவது, ஒவ்வொரு வீலும் 360 டிகிரி சுயலும் திறனைக் கொண்டதாக இருக்கும். இதற்கேற்ப காரின் மோட்டார் திறனும் நவீன ரகத்தில் மாற்றி வடிவமைக்கப்பட இருக்கின்றது.

இதற்கான மாதிரி படங்களைதான் டொயோட்டா நிறுவனம் உருவாக்கி வருகின்றது. மேலும், இதற்கான சாத்தியக் கூறுகள் குறித்தும் அது ஆராய்ச்சிகளை மேற்கொண்டு வருகின்றது. இத்துடன், எதிர்கால மொபிலிட்டியைக் கருத்தில் கொண்டு மின்சார வாகனங்கள் மற்றும் ஹைபிரிட் வாகனங்கள் பற்றியும் அதிகளவில் ஆராய்ச்சியை மேற்கொண்டு வருகின்றது டொயோட்டா.

இந்நிலையில்தான் 360 டிகிரி சுழலும் கார் சக்கரங்கள் பற்றிய ஆய்வை அது செய்யத் தொடங்கியுள்ளது. இது எப்போது பயன்பாட்டிற்கு என்பது பற்றிய தகவல் இன்னும் முழுமையாக அறிவிக்கப்படவில்லை. இருப்பினும், இந்த அம்சம் நகரவாசிகள் மத்தியில் ஆவலைத் தூண்டி வருகின்றது.


Click it and Unblock the Notifications








