வைப்பர் எவ்ளோ முக்கியமானது அதுவே இருக்காதா? பதிலாக நம்ப முடியாத புதிய வசதியை உருவாக்கும் பிரபல நிறுவனம்!!
பிரபல நிறுவனம் வைப்பருக்கு பதிலாக லேசர் பீம் மின் விளக்கைப் பயன்படுத்த இருப்பதாக தகவல்கள் வெளியாகியுள்ளன. இதுகுறித்த முக்கிய விபரத்தைக் கீழே காணலாம், வாங்க.

மழைக் காலத்தின்போது முன் பக்க கண்ணாடியில் (விண்ட்ஷீல்டு) விழும் மழை நீரை போக்குவதற்கு வைப்பர்கள் பயன்படுத்தப்படுகின்றன. இது இல்லாத வாகனங்களைப் பார்ப்பது மிக மிக கடினம். இருசக்கர வாகனங்களைத் தவிர மற்ற அனைத்து வாகனங்களிலும் இது கட்டாயம் இடம் பிடித்துவிடுகின்றது.

ஆனால், எதிர்காலத்தில் விண்ட்ஷீல்டுகளை சுத்தம் செய்வதற்கான வைப்பர்கள் இடம் பெறாது என்பது இப்போது தெரிய வந்திருக்கின்றது. ஆம், வைப்பர்கள் இல்லாத வாகனங்களை மிக விரைவில் இந்த உலகம் பார்க்க இருக்கின்றது. இதனை உறுதிப்படுத்தும் ஓர் தகவல் தற்போது வெளியாகியிருக்கின்றது. இதுகுறித்த முக்கிய விபரத்தையே இப்பதிவில் பார்க்க இருக்கின்றோம். வாருங்கள் பதிவிற்குள் போகலாம்.

Image Courtesy: electrek.co
வாகன உலகில் புதிய தொழில்நுட்பங்களை அறிமுகம் செய்வதில் முன்னணி நிறுவனங்களில் ஒன்றாக டெஸ்லா (Tesla) இருக்கின்றது. அமெரிக்காவை மையமாகக் கொண்டு மின்வாகன உற்பத்தியில் மட்டும் இந்நிறுவனம் ஈடுபட்டு வருகின்றது. இந்நிறுவனமே மிக விரைவில் வைப்பர் தேவைப்படா (இல்லா) புதிய தொழில்நுட்பத்தை உருவாக்கி வருவதாக தகவல்கள் வெளியாகியுள்ளன.

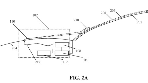
வைப்பர்கள் இல்லை என்றால் மழையின்போது எப்போது விண்ட்ஷீல்டை சுத்தம் செய்வது என உங்களுக்கு சந்தேகம் எழலாம். வைப்பர்களுக்கு மின் வாகன உற்பத்தியாளர் லேசர் பீம்களை பயன்படுத்த இருப்பது தெரிய வந்திருக்கின்றது. ஆம், இதுவே வைப்பரைப் போல் செயல்படும். மெட்டல் மற்றும் ரப்பரால் இருக்கும் வைப்பரைப் போலவே இது மிகவும் துள்ளியமாக செயல்படும் என நிறுவனம் தெரிவித்திருக்கின்றது.

இத்தகைய வைப்பரை உருவாக்கும் பணியிலேயே டெஸ்லா தற்போது களமிறங்கியிருக்கின்றது. இதை உருவாக்கும் பணியில் மட்டும் நிறுவனம் களமிறங்கவில்லை. வர்த்தகத்திற்கான பேடெண்ட் (Patents) பதிவையும் நிறுவனம் செய்துவிட்டதாக தகவல்கள் வெளியாகியுள்ளன.

இதுமட்டுமின்றி, இப்பதிவிற்கு அமெரிக்காவின் பேடென்ட் மற்றும் டிரேட்மார்க் அலுவலகத்தின் அனுமதியும்கூட கிடைத்துவிட்டதாக தகவல்கள் வெளியாகியுள்ளன. ஆகையால், இந்த புதிய தொழில்நுட்பம் நிறுவனத்தின் புதுமுக வாகனமான சைபர்ட்ரக் (Cybertruck) மாடலில் இடம் பெறலாம் என எதிர்பார்க்கப்படுகின்றது.

மிக விரைவில் நிறுவனம் இந்த எலெக்ட்ரிக் ட்ரக்கையே உலகளவில் விற்பனைக்கு அறிமுகம் செய்ய இருக்கின்றது. முன்னதாக இதனை 2019ம் ஆண்டு நவம்பர் மாதம் காட்சிப்படுத்தியது. அப்போது அந்த வாகனத்தில் இடம் பெறவில்லை. எனவேதான் வைப்பர்கள் இல்லா வாகனமாக சைபர்ட்ரக் விற்பனைக்கு வரும் என எதிர்பார்க்கப்படுகின்றது.

லேசர் பீம் மட்டுமின்றி எலெக்ட்ரோ மேக்னடிக் வைப்பர் தொழில்நுட்பங்களை உருவாக்கும் பணியிலும் டெஸ்லா ஈடுபட்டு வருகின்றது. லேசர் பீம் தொழில்நுட்பமானது தானாக தூசி தங்குவதை கண்டறிந்து அவற்றை அதுவாகவே அகற்றும் பணியை மேற்கொள்ளும். ஆகையால், தற்போது பயன்பாட்டில் இருக்கும் மெட்டல் ரப்பர் அடிப்படையிலான வைப்பர்களைக் காட்டிலும் அதிக பலனை இது வழங்கும் என தெரிகின்றது.

அதேசமயம், அண்மையில் வெளியாகிய தகவலின்படி புதிய டெஸ்லா சைபர்ட்ரக்கின் எந்தவொரு கதவிலும் கைப்பிடிகள் இருக்காது என நிறுவனம் அண்மையில் தெரிவித்தது. அப்படினா இந்த காரோட கதவை எப்படிதான் திறக்குறது என்ற கேள்வி உங்களுக்கு எழும்பலாம். தனது உரிமையாளரை அடையாளம் கண்டால் தானே கதவை திறக்கும் வசதி வழங்கப்பட இருக்கின்றது.

இத்துடன் செல்போனைக் கொண்டு கதவுகளை திறக்கும் வசதியும் இடம் பெறலாம் என எதிர்பார்க்கப்படுகின்றது. சமீபத்தில் வெளியாகிய இந்த தகவல் பிக்-அப் ட்ரக்கின் மீதான எதிர்பார்ப்பை மேலும் அதிகரிக்கச் செய்யும் வகையில் அமைந்துள்ளது. இந்த காரின் அறிமுகம் நடப்பாண்டிலேயே செய்ய இருந்த நிலையில் கொரோனா வைரஸ் பரவல் அடுத்த ஆண்டிற்கு ஒத்திருப்பது குறிப்பிடத்தகுந்தது.

இந்த வாகனத்தின் உற்பத்தியை நிறுவனம் இன்னும் தொடங்கவில்லை. ஆனால், இப்போதே புக்கிங் குவிந்து வருகின்றது. டெஸ்லா நிறுவனம் பிக்-அப் ட்ரக்கை தனது டெக்சாஸ் ஜிகாஃபேக்டரியில் வைத்து உற்பத்தி செய்ய திட்டமிட்டுள்ளது. இந்த பிக்-அப் ட்ரக்கை சரக்கு ஏற்றி செல்லும் வாகனமாக மட்டுமின்றி பலதரப்பட்ட பயன்பாட்டிற்கு உட்படுத்தும் வகையில் டெஸ்லா உருவாக்கி வருகின்றது.


Click it and Unblock the Notifications








